xcb Опубликовано 22 ноября, 2022 #301 Поделиться Опубликовано 22 ноября, 2022 а еще они сфинксу нос отломали. 1 Ссылка на комментарий
Demetrius Опубликовано 26 ноября, 2022 #302 Поделиться Опубликовано 26 ноября, 2022 Эхнатона зачастую упрекают в том, что он сосредоточился на своей религиозной реформе и забил на внешнюю политику. Отчасти это верно, но, как оказалось, отошения с микенцами при Эхнатоне, наоборот, стали развиваться. Подробнее об этом из книги "Towards the Borders of the Bronze Age and Beyond: Mycenaean Long Distance Travel and its Reflection in Myth" Й. Мюлля: Цитата Во время правления Эхнатона отмечается рост интенсивности и качества прямых контактов между микенцами и Египтом (Kelder 2018, 14). О контактах свидетельствует значительное количество микенской керамики, найденной в Ахетатоне, новой столице Эхнатона, куда он переехал на 6-м году своего правления. Эти черепки являются первыми крупными микенскими керамическими находками в Египте и в значительной степени состоят из контейнеров для перевозки оливкового масла. Это масло широко использовалось в Египте в качестве основы для парфюмерии во время церемоний, а также в качестве неароматизированного средства для приготовления пищи, топлива для ламп и ухода за лошадьми и их снаряжением. Вся керамика датируется периодом LHIII. Стиль контейнеров, кажется, указывает на Арголиду и, возможно, на район вокруг Микен как на источник груза. Оливки в то время не выращивали в Египте и их приходилось импортировать. Поскольку часть микенской керамики была обнаружена также в более скромных жилищах за пределами дворцовой территории, Меррилес (1972, 291) предполагает, что контакты, вероятно, носили коммерческий характер и были разнообразными. Келдер (2010, 130f), с другой стороны, указывает на тот факт, что большая часть керамики была найдена в центре города вокруг дворца. Таким образом, можно допустить некоторую форму дворцового контроля над потоком важных ресурсов. Поэтому появление контейнеров с оливковым маслом можно интерпретировать как «приветственные дары» и как указание на прямую дипломатическую миссию между дворцовыми центрами в микенской Греции и Египтом. Кроме того, похоже, что во время правления Эхнатона микенцы служили египетскому фараону в качестве наемников. В этом направлении интерпретируется фрагмент папируса, найденный в Амарне, изображающий нечто похожее на микенских наемников в египетской армии. Эта интерпретация подтверждается находкой фрагмента клыка кабана в Кантире вероятного микенского происхождения и находками керамики (Schofield 2007, 125; Kelder 2010, 126f и 2018, 17). И еще один момент: Цитата Экспорт меди с Кипра в Египет увеличился в период Амарны в 14 веке до н.э., о чем свидетельствуют письма из «Амарнского архива» (Constantinou 2012, 7, 9,12).29 Ссылка на комментарий
Demetrius Опубликовано 11 декабря, 2022 #303 Поделиться Опубликовано 11 декабря, 2022 О разливах Нила во времена Древнего царства (из книги "Analyzing Collapse: The Rise and Fall of the Old Kingdom" чешского египтолога М. Барты): Цитата Остров Элефантина образовался путем соединения двух отдельных островов, которые постоянно заселялись с самого начала образования единого древнеегипетского государства. Многолетние раскопки немецких археологов помогли выяснить очень тесную взаимосвязь между заселением острова и разливами Нила, которые служили здесь существенным ограничивающим фактором. Некоторые наблюдения, сделанные в ходе этого исследования, дополняют то, что мы уже знаем о развитии природной среды и разливах Нила в III тысячелетии до н.э. Во времена Первой династии новое поселение на острове Элефантина не опускается ниже 96 м над уровнем моря (у.м.), и даже фундамент его форта постоянно остается выше этой линии. Разветвленная сеть поселений дополняется во время Второй династии системой укреплений для расширяющегося поселения, но на несколько меньшей высоте, от 94 до 94,5 м над уровнем моря (что позволяет предположить, что высота Нила между разливами могла составлять 92-92,5 м над уровнем моря). Во времена Древнего царства можно наблюдать непрерывный спуск поселения на все более низкие уровни. Во времена Четвертой и Пятой династий поселение располагалось ниже 94 м над уровнем моря, а в одном случае оштукатуренный пол дома находился ниже 93,55 м над уровнем моря. Самое низкое поселение зафиксировано ближе к концу Древнего царства, во времена Шестой династии: оно находилось на высоте всего 90,8–91,3 м над уровнем моря, что ясно свидетельствует о том, что обычный уровень Нила в те годы был особенно низким. Нельзя не отметить, что разница высот уровней поселений между началом единого государства и концом Древнего царства составляла разительные пять метров. Ссылка на комментарий
xcb Опубликовано 11 декабря, 2022 #304 Поделиться Опубликовано 11 декабря, 2022 тут может быть не учтен фактор углубления реки и расширения ее в этом месте. В итоге объем протока тот же, а уровень визуально ниже. Ссылка на комментарий
Demetrius Опубликовано 11 декабря, 2022 #305 Поделиться Опубликовано 11 декабря, 2022 1 час назад, xcb сказал: тут может быть не учтен фактор углубления реки и расширения ее в этом месте. В итоге объем протока тот же, а уровень визуально ниже. Возможен и такой вариант, но и с предположением о серьезной засухе в конце Древнего царства падение уровня Нила тоже хорошо стыкуется. Тем более что ближе к Первому переходному периоду уровень Нила снова стал повышаться: Цитата Интересным событием стало возвращение более высоких наводнений в самом конце Древнего царства и в течение Первого переходного периода, о чем свидетельствует строительство больших каменных стен, служивших платформой, на которой полы более легких построек можно было поднять на высоту до 92,7 м над уровнем моря. Однако анализ накопленных слоев показал, что даже этот уровень пола несколько раз затапливался вздыбившейся рекой, несмотря на то, что он был выше уровня среднего паводка. Впоследствии пол был поднят еще на 40 см до высоты 93,1 м над уровнем моря. На этом уровне здания в поселениях больше не имеют следов затопления. На последнем этапе строительства, но еще до начала Среднего царства, жилой уровень был поднят в последний раз до 93,7 м над уровнем моря; здесь также нет следов наводнения. 19 Таким образом, археологические данные показывают, что поселение на острове резко менялось с течением времени в зависимости от высоты Нила. Ссылка на комментарий
xcb Опубликовано 11 декабря, 2022 #306 Поделиться Опубликовано 11 декабря, 2022 (изменено) У нас есть серьезная засуха, что побудила Джосера строить пирамиды. Тот самый кровавый глаз Сириуса-Б/ "7 лет без урожая". Изменено 11 декабря, 2022 пользователем xcb Ссылка на комментарий
Demetrius Опубликовано 12 декабря, 2022 #307 Поделиться Опубликовано 12 декабря, 2022 16 часов назад, xcb сказал: У нас есть серьезная засуха, что побудила Джосера строить пирамиды. Тот самый кровавый глаз Сириуса-Б/ "7 лет без урожая". Одно другого не исключает: Цитата Археологические источники отражают явление высыхания окружающей среды к концу Древнего царства через более толстые слои песка, нанесенного ветром. Это хорошо задокументировано исследованиями, проведенными в Дахшуре. Образцы зондов собирались в течение нескольких лет, чтобы можно было исследовать многометровые отложения на этом поле пирамид. Изученные разрезы указывали на жилое поселение начала Четвертой династии (разумеется, в месте с непрерывной историей заселения вплоть до Шестой династии), расположенное на глубине от 6 до 6,5 м, с 1-1,5 метровым слоем эолового песка, лежащем сразу на нем. Над этим песком находился еще один культурный слой, датируемый по керамике приблизительно эпохой Сенусерта III. 2 1 Между тем находки, сделанные в течение многих лет британской экспедицией, работавшей в районе Абусира и Саккары, показали, что большие площади долинных храмов комплексов пирамид были частично заполнены переносимым ветром песком еще во времена Древнего царства. 22 Тем не менее, автор считает, что засуха - только одна из причин падения Древнего царства. Существенную роль сыграл также сепаратизм местных элит и династический кризис после долгого правления Пепи II. Ссылка на комментарий
xcb Опубликовано 12 декабря, 2022 #308 Поделиться Опубликовано 12 декабря, 2022 4 часа назад, Demetrius сказал: Тем не менее, автор считает, что засуха - только одна из причин падения Древнего царства. Исчерпала себя собственно модель государственного устройства. Так происходит везде - Междуречье пало раньше, там всегда было полно голодных варваров окрест. Микенские - не выдержали кризиса и сорвались в пучину междоусобных войн по исходу которых оказались рабами на своей земле. Китай - нарвался на очередное переполнение и волну варваров, хараппа - вовсе исчезла, не оставив после себя памяти. Через некоторое время тоже самое произойдет с полисным вариантом государства, и исчезнут города финикии, Греки соберутся в кучки которые будут драться между собой пока не придет Рим. Этрурия также проиграет невиданному ранее варианту - племенному городу, умело инкорпорирующему людей, земли и идеи. И спустя мгновение истории - Рим, уничтожит последний великий Полис, Карфаген. Затем в крови гражданских войн создаст империю и тихо сгниет. Похоронив "античный способ производства". Ссылка на комментарий
Demetrius Опубликовано 28 декабря, 2022 #309 Поделиться Опубликовано 28 декабря, 2022 О полигональной кладке в Египте (из книги Р. Орехова "Мир строителей пирамид"): "Зачастую перед исследователями пирамид возникает проблема т. н. косых швов. Блоки известняка (реже гранита), стыкующиеся друг с другом безо всяких щелей, на всю глубину кладки, лишены прямоугольной формы. Строители обтёсывали блоки под разными углами. Почему? Ведь взаимная подгонка таких блоков представляла собой крайне трудоёмкую операцию, требующую дополнительных затрат времени и сил. Однако это не совсем так. Главной причиной подобного способа обработки была более прочная сцепка составных компонентов кладки. Блок с косыми гранями лучше фиксировался по отношению к своим соседям, не говоря уже о том, что его было почти невозможно извлечь, не потревожив соседние блоки. С этой целью блок значительной длины обрабатывался в самом массиве скалы и аккуратно распиливался под разными углами. Затем его отделяли от скального основания и по частям транспортировали к месту укладки. Поэтому стыковка швов была идеальной и не требовала дополнительных усилий для взаимной подгонки блоков" На фото ниже пример полигональной кладки в облицовке пирамиды Менкаура: Ссылка на комментарий
Svetlako Опубликовано 29 декабря, 2022 #310 Поделиться Опубликовано 29 декабря, 2022 (изменено) В 28.12.2022 в 17:19, Demetrius сказал: О полигональной кладке в Египте (из книги Р. Орехова "Мир строителей пирамид"): "Зачастую перед исследователями пирамид возникает проблема т. н. косых швов. Блоки известняка (реже гранита), стыкующиеся друг с другом безо всяких щелей, на всю глубину кладки, лишены прямоугольной формы. Строители обтёсывали блоки под разными углами. Почему? Ведь взаимная подгонка таких блоков представляла собой крайне трудоёмкую операцию, требующую дополнительных затрат времени и сил. Однако это не совсем так. Главной причиной подобного способа обработки была более прочная сцепка составных компонентов кладки. Блок с косыми гранями лучше фиксировался по отношению к своим соседям, не говоря уже о том, что его было почти невозможно извлечь, не потревожив соседние блоки. С этой целью блок значительной длины обрабатывался в самом массиве скалы и аккуратно распиливался под разными углами. Затем его отделяли от скального основания и по частям транспортировали к месту укладки. Поэтому стыковка швов была идеальной и не требовала дополнительных усилий для взаимной подгонки блоков" На фото ниже пример полигональной кладки в облицовке пирамиды Менкаура: Где-то читал (?), что без этих косых швов пирамиды бы до нас не дожили. Они компенсировали ежедневные температурные смещения. Изменено 29 декабря, 2022 пользователем Svetlako Ссылка на комментарий
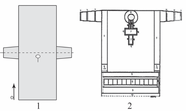
Demetrius Опубликовано 1 февраля, 2023 #311 Поделиться Опубликовано 1 февраля, 2023 (изменено) О туниках и платьях в Древнем Египте (из статьи О. Орфинской "Плечевая одежда Египта по данным археологии"): Цитата Около 30 сшитых по одной системе платьев и их фрагментов находятся в музеях Парижа, Лиона, Лондона, Турина, Каира и Бостона. Эти платья шились из одного большого куска ткани — стана — и двух рукавов, присоединенных к стану по линии груди. Платья имели V-образную горловину, образованную на стыке двух рукавов, и поперечные складки (рис. 1). Для пошива данной одежды использовали ткацкий кусок шириной от 78 до 136 см. Такую ткань могли вырабатывать на горизонтальных ткацких станках, известных по изобразительным источникам (рис. 2). Начиная с эпохи Нового царства, на территории Египта существовала и другая форма одежды, которую в западных публикациях называют туникой, а в русскоязычной этнографической литературе — туникообразной рубахой. По сути, это то же платье, но со станом, который перегибается поперек ткацкого куска, т. е. складывается по направлению нитей утка. Считается, что такая форма одежды появилась подвлиянием восточных народов 2. Однако эта версия не имеет веских доказательств и на данный момент не может считаться общепринятой. Наиболее известный, хорошо сохранившийся экземпляр такой разновидности одежды — это «туника» Тутанхамона (рис. 3). Помимо нее также сохранилась еще целая серия более простых «туник»3. У этих одеяний выреза́лась круглая горловина, имевшая стандартное расположение — она сдвинута вперед относительно линии плеч. Для того чтобы такая «туника» хорошо сидела, нужно иметь впалую грудь, небольшой горб и вытягивать шею вперед. Однако из-за большой ширины изделия, когда оно оказывалось на человеке, горловина занимала свое естественное положение, а спина провисала. Возможно, это было удобно при ходьбе в длинном одеянии. Если «тунику» подпоясывали, то проблем вообще не возникало. Внятного объяснения такому расположению горловины пока не найдено. Рис. 1. Плиссированное платье (по: Borla, Oliva 2015: 104, 107, 123): 1 — общий вид платья S.7932/4 из Египетского музея в Турине; 2 — схема платья; 3 — этапы раскроя и заложения складок на стане платья Рис. 2. Прорисовка фрески из гробницы в Бени-Хасане, Египет, 1900 г. до н. э. Рис. 3. «Туника» Тутанхамона: 1 — схема кроя (рис. О. В. Орфинской); 2 — общий вид (по: Crowfoot, Davies 1941: 120) Рис. Изменено 1 февраля, 2023 пользователем Demetrius Ссылка на комментарий
Demetrius Опубликовано 2 февраля, 2023 #312 Поделиться Опубликовано 2 февраля, 2023 (изменено) О судопроизводстве в Древнем Египте (из интервью М. Лебедева): "Когда речь заходит о реальной практике, то все, конечно же, обращаются к Дейр-эль-Медине. Там очень много любопытных случаев, и эти документы показывают, как реально функционировал суд на таком локальном уровне. И оказывается, что судьи не руководствуются какими-то писанными правилами, то есть они не цитируются, к ним нет никаких отсылок. Вот стандартный случай: приходит работник и говорит: «Вот другой работник взял у меня ослицу с ослятами и не отдаёт. И вот уже было 4 решения суда о том, что он должен компенсировать мне их стоимость, этой ослицы и маленьких ослят, а он не компенсирует». И вот уже 5-й суд идёт, судьи заслушивают сначала сторону обвинения, потом выслушивают защищающегося, и они его спрашивают: «Это правда?», а он говорит: «Да, это истинная правда, уже было решение суда по этому вопросу». Всё, на этом суд закончился. Любой суд заканчивается тем, что того, кого обвиняют, если признают виновным, он даёт клятву, что он исполнит решение суда, и на этом всё заканчивается. Он даёт клятву перед богами, и дальше за исполнением должны следить, получается, боги. И был ещё другой тип судилища, когда собирался некий совет, вот, в данном примере с ослицей 8 человек собралось – это чиновники, которые должны были принять некое решение. Была другая опция: во время праздника, когда статую бога выносили (было много местных святилищ, соответственно, было много местных божеств), и дело решалось божественным оракулом; как правило, статуя перемещалась, к ней подходил человек и задавал вопрос, например: «Правда, что меня обокрал мой сосед?», и бог принимал решение как-то, видимо, с помощью движения: жрецы его несли, и если (там не очень понятно по текстам, но можно предположить) бог следовал к человеку – то это «да», если от человека – то «нет». Ну, соответственно, решения, очевидно, принимали те жрецы, которые несли статую бога. А как потом имплементировалось это решение такого вот божественного оракула, не очень понятно. Мы знаем, что древние египтяне имели полицейских чиновников, но они уже, как правило, занимались серьёзными такими делами, например, дела о гос. измене – одна из немногих категорий дел, по которым грозила смертная казнь в Древнем Египте" Сссылка на интервью: https://dzen.ru/a/XpBBkGrDCjDbrWjU Изменено 2 февраля, 2023 пользователем Demetrius Ссылка на комментарий
Demetrius Опубликовано 7 февраля, 2023 #313 Поделиться Опубликовано 7 февраля, 2023 О бирюзе в Древнем Египте (из статьи О. Томашевич "Радость по-древнеегипетски – бирюза): Цитата Бирюза была одним из трех самых употребимых ювелирных камней (два другие: лазурит и сердолик, вместе с золотом они образуют классическое древнеегипетское сочетание, встречаемое в украшениях очень часто с эпохи Среднего царства). Достаточно пролистать один из последних каталогов Египетского музея в Каире [9, c. 260, 268, 279, 285, 309–312, 314–336, 341, 362, 377, 389, 501, 502]. В браслетах из гробницы Джера это сочетание еще не установилось – вместо сердолика использован аметист [9, с. 343], а в поясе царевича Птахшепсеса (VI династия; согласно любезному указанию А. О. Большакова, пояс принадлежит более позднему погребению) – вместо лазурита обсидиан [9, с. 344]. Нельзя не учесть, что от Древнего царства дошло не так много украшений. Устойчиво сочетание золота, бирюзы, лазурита и сердолика в украшениях Среднего царства [9, с. 339, 342, 346–347, 349–353, 355–361] и оно остается самым любимым в эпоху Нового царства, как показывает коллекция гробницы Тутанхамона. Безусловно, главная причина – не эстетические пристрастия древних, а их представления об особой защитной силе этого сочетания, многократно усиленной формой украшения. «Это заклинание прочесть над настоящим лазуритом, бирюзой, сердоликом…» – речь идет, видимо, именно о предмете, в котором все драгоценности счастливо сочетаются с золотом, а не об альтернативных амулетах. Иногда вставки соответствующего цвета делали из стекла или какой-то пасты – это не влияло на магическую эффективность украшения. Бирюза использовалась в ювелирных изделиях с додинастического по греко-римский период (ожерелья, браслеты, кольца, серьги, ожерелья для предметов храмовой утвари – например, для ладьи Амона, алтарей, сосудов, культовых статуй, дверей). Очень часто именно бирюзу имитирует так называемая «египетская паста», фаянс. Если на статуях нарисованы ожерелья – то они голубого, т. е. бирюзового цвета. Амулеты и скарабеи из бирюзы встречаются редко. В инкрустациях мастера предпочитали вставки из фаянса – не потому, что это было дешевле – просто технологически проще [3]. Египтяне предпочитали зеленую бирюзу более пористой голубой, т. к. последняя быстрее теряла яркость. Но возможно, важнее практических соображений была цветовая символика. В древнем Египте зеленый цвет всегда воспринимался исключительно положительно – как цвет процветания, свежести, плодородия, успеха, праздника. На фото ниже упоминаемые в статье браслеты из гробницы фараона I династии Джера: Ссылка на комментарий
Svetlako Опубликовано 8 февраля, 2023 #314 Поделиться Опубликовано 8 февраля, 2023 @Demetrius Бирюза своеобразный минерал. Лучше всего ему "на человеке". Ему нужна в окружении влажность и специфическая минерализованность. Бирюза на фотках т.н.мертвая. Потерявшая красоту... Ссылка на комментарий
xcb Опубликовано 6 марта, 2023 #315 Поделиться Опубликовано 6 марта, 2023 вышла Цитата Название: Страна пирамид. Новейшие открытия археологов в Египте Автор: Лебедев М.А., Малых С.Е. Издательство: Санкт-Петербург: Питер Год: 2022 Удивительно, но древняя египетская земля до сих пор хранит неизвестные науке пирамиды, гробницы, города и храмы. Авторы, многие годы посвятившие археологическим раскопкам, знакомят читателей с важнейшими открытиями своих коллег, сделанными в окрестностях легендарного Мемфиса, в топях дельты Нила, на Синайском полуострове и даже на дне Средиземного моря. Где родилась архитектура и где находилась столица загадочных гиксосов, как пять тысяч лет назад варили пиво и для кого делались ложные двери, кого называют первым египтологом и как современные технологии меняют наши представления о жизни в Древнем Египте? Перед вами увлекательнейший рассказ о новейших археологических открытиях и о том, какой же она была на самом деле – манящая и прекрасная страна пирамид. Ссылка на комментарий
Demetrius Опубликовано 6 марта, 2023 #316 Поделиться Опубликовано 6 марта, 2023 3 часа назад, xcb сказал: вышла Это один том из двухтомника, который вышел в бумаге в прошлом году. Двухтомник мне понравился. Ссылка на комментарий
xcb Опубликовано 7 марта, 2023 #317 Поделиться Опубликовано 7 марта, 2023 Гдебы время прочитать взять. Ссылка на комментарий
Demetrius Опубликовано 11 марта, 2023 #318 Поделиться Опубликовано 11 марта, 2023 О зеркалах в Египте римского периода (из книги "Social Archaeology of Roman and Late Antique Egypt" E. Swift): Цитата Зеркала обычно делались либо из полированного металла, либо из посеребренного стекла в раме; ряд зеркал обоих типов сохранился из римского и позднеантичного Египта (например, см. Petrie 1927 , 31–33 и табл. XXIX). Известны также небольшие переносные зеркала (рис. 7.3a–b): складное стеклянное зеркало в красной коже и раме из папируса, датированное римским периодом в каталоге музея Питри (рис. 7.3b). Оно явно задумывалось как портативный личный предмет. Отражающая поверхность по-прежнему в хорошем состоянии, а выпуклая форма стекла гарантирует, что, несмотря на небольшой размер, в нем будет отражаться все лицо. Другие зеркала явно предназначались для использования в доме. Образец на рис. 7.3а представляет собой пятистороннее зеркало в форме дома или алтаря, а также имеет отверстие наверху для подвешивания (рис. 7.3а). Эти особенности демонстрируют, что зеркала можно было вешать на стены дома, чтобы при необходимости их можно было легко использовать. Важно отметить, что зеркала, висящие на стене, также могли отражать свет в темных интерьерах дома, выполняя, таким образом, несколько функций в домашней сфере. Особенно эффектным могло быть расположение зеркала за зажженной лампой. Можно также предположить и ритуальную функцию; конечно, в римской традиции зеркала играли роль в гадании (Joy 2010 , 50). Однако, следует отметить, что зеркала, по-видимому, не фигурируют в магических заклинаниях, описанных в греческих магических папирусах, в отличие от других небольших артефактов, таких как лампы. Цитата Рисунок 7.3. Примеры зеркал: (а) зеркало в виде дома или храма; (b) стеклянное зеркало в раме из папируса. (Музей египетской археологии Питри) О способах уборки дома (из упомянутой выше книги Свифт): Цитата Среди предметов из растительных волокон стоит отметить щетки разного размера и жесткости, использовавшиеся для подметания полов и других поверхностей. Щетки с грубой щетиной использовались для чистки каменных полов и мебели, такой как скамейки (Croom 2011, 68). На рис. 7.4 представлен образец щетки из тонкого пальмового волокна, сложенного пополам и разделенного на две секции веревкой для создания формы веера. На щетке заметны следы износа по краям волокон, что предполагает ее использование для чистки плоской поверхности; такие щетки, вероятно, использовались для уборки пыли или подметания дома, а их размеры позволяли им проникать в углы и узкие места. Помимо очистки от грязи и мусора, щетки также использовались для выметания пепла из очагов. Кроме того, в качестве метода очистки использовалось нанесение песка или опилок для поглощения грязи и жидкостей на полу, которые затем подметались и выбрасывались (Croom 2011, 64) Цитата Рисунок 7.4. Пример мягкой щетки, подходящей для подметания (Музей египетской археологии Питри) Цитата Редкая сохранившаяся пара красных носков, Музей Виктории и Альберта, Лондон Ссылка на комментарий
xcb Опубликовано 12 марта, 2023 #319 Поделиться Опубликовано 12 марта, 2023 10 часов назад, Demetrius сказал: Цитата Редкая сохранившаяся пара красных носков, Музей Виктории и Альберта, Лондон ААААА - РЕПТИЛОИДЫ!!!!!! ДВА ПАЛЬЦА НА НОГАХ!!!! Ссылка на комментарий
xcb Опубликовано 23 марта, 2023 #320 Поделиться Опубликовано 23 марта, 2023 народ не подскажите, Название: The Oxford History of the Ancient Near East: Volume I: From the Beginnings to Old Kingdom Egypt and the Dynasty of Akkad Автор: Karen Radner Nadine Moeller, D. T. Potts Издательство: Oxford University Press и следующие книги, выходили на русском? Ссылка на комментарий
AlSlad Опубликовано 23 марта, 2023 #321 Поделиться Опубликовано 23 марта, 2023 (изменено) @xcb Оксфордскую серию, насколько я знаю, вообще не переводят. Переводят Кембриджскую и с большим опозданием по времени. Например издание про Рим 193-337 вышло на инглише в 2005 году (онлайн в 2008), а на русском в 2022. Книгу про пятый век до н.э., вырущенную в 1995 (онлайн в 2008) перевели в 2014. Так что даже если бы оксфордские книги выпускались, то издание 2020 вышло бы с переводом ууууу... Быстрее инглиш выучить Изменено 23 марта, 2023 пользователем AlSlad Ссылка на комментарий
xcb Опубликовано 24 марта, 2023 #322 Поделиться Опубликовано 24 марта, 2023 11 часов назад, AlSlad сказал: Быстрее инглиш выучить если бы просто инглиш, а то британский академический, некоторые обороты из книги в ступор вгоняют даже британских нативов. Ссылка на комментарий
xcb Опубликовано 7 апреля, 2023 #323 Поделиться Опубликовано 7 апреля, 2023 перевели и издали, второй том "Египет и долина Нила". Цитата Название: Египет и долина Нила. Т. 2: От конца Древнего царства до конца Нового царства Автор: Вандерслейен К. Издательство: СПб.: Академия Исследования Культуры Год: 2023 Ссылка на комментарий
Demetrius Опубликовано 7 апреля, 2023 #324 Поделиться Опубликовано 7 апреля, 2023 (изменено) 7 часов назад, xcb сказал: перевели и издали, второй том "Египет и долина Нила". С одной стороны, новость хорошая, т.к. на русском издана книга еще одного зарубежного египтолога, а это случается редко. С другой стороны, оригинал был издан в 1995 г., что, на мой взгляд, снижает актуальность этой монографии. Изменено 7 апреля, 2023 пользователем Demetrius Ссылка на комментарий
AlSlad Опубликовано 7 апреля, 2023 #325 Поделиться Опубликовано 7 апреля, 2023 2 часа назад, Demetrius сказал: С другой стороны, оригинал был издан в 1995 г., что, на мой взгляд, снижает актуальность этой монографии. Я ж говорю - без знания языка все будет с сильным отставанием. Кембриджскую Историю как медленно переводят. Оксфордскую даже и не пытались. По Пелопоннесской войне классический четырехтомник Дональда Кэгана, я думаю, так и не будет никогда переведен (сорри, это уже Греция, но как показатель). Ссылка на комментарий
Рекомендуемые сообщения
Для публикации сообщений создайте учётную запись или авторизуйтесь
Вы должны быть пользователем, чтобы оставить комментарий
Создать учетную запись
Зарегистрируйте новую учётную запись в нашем сообществе. Это очень просто!
Регистрация нового пользователяВойти
Уже есть аккаунт? Войти в систему.
Войти